M14 Traversée de Paroi
Caractéristiques
- Filets métriques M14
- N'utilise aucun époxy
- Supporte pressions élevées et système de vide poussé
- Connecteurs standard ST
- Joint d'étanchéité inclus (Viton®)
- Dépasse les normes de l'industrie aérospatiale.
Une traversée de paroi très robuste pour applications sous vide ou sous pression, pour applications industrielles, en laboratoire et en aérospatial.
Pour une brochure du conditionneur de signaux T/Guard 405, SVP contacter Neoptix
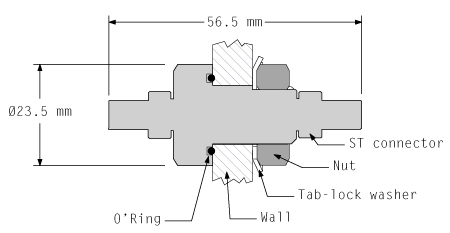
La traversée de paroi OFT-M14 de Neoptix a été spécialement conçue pour passer un capteur de température fibre optique Neoptix tout en conservant une cuve, un réservoir ou une chambre pressurisée sous de fortes pressions ou système sous vide poussé.
L'OFT-M14 est fabriqué d'acier inoxydable 316 (diamètre de 14 mm et un pas de vis de 2 mm) et inclus un joint torique en Viton® et une rondelle de verrouillage.
Le M14 est conforme aux normes les plus strictes établies par l'industrie de l'aérospatiale.
En outre, l'OFT-M14 est une pièce autonome conçue pour s'accoupler avec tous les capteurs de température et extensions Neoptix.
Accessoires
Aucun accessoire disponible pour M14 Traversée de Paroi.







